Arterielt spinalt infarkt

    ()

    sporsmal_grey_rgb
    Abstract

    BACKGROUND

    Spinal cord infarction is a very rare clinical entity, which can be a diagnostic challenge due to its variable clinical presentation. We present an extraordinary case of this rare disease.

    CASE PRESENTATION

    A smoker in his fifties had a history of cervical spine disease and underwent cervical laminectomy of C5/C6 several years prior. A new onset of severe neck pain and subsequent left arm weakness led to admission. The first suspicion was compression of a cervical nerve. His symptoms gradually progressed and he developed left hemiplegia, a partial Brown-Sequard syndrome and miosis of the left eye. Brain and spinal cord MRI demonstrated a small infarction in the cervical spinal cord at level C2-C4 and in the left cerebellum. CT angiography showed a ruptured plaque in the subclavian artery.

    INTERPRETATION

    Arterial embolism from the atherosclerotic subclavian artery caused ischaemic events in the cerebellum and the anterior spinal artery. Acute neck or back pain with stepwise progression of neurological symptoms should raise suspicion of spinal cord infarction.

    Artikkel

    Spinale infarkter er sjeldne, og symptomene varierer med infarktets lokalisasjon og størrelse. En pasient fikk akutte nakkesmerter og venstresidig armparese. Kompresjon av cervikale nerverøtter ble først ansett som sannsynlig årsak, men forløp og MR-funn ga etter hvert mistanke om en annen etiologi.

    En mann i 50-årene som tidligere hadde gjennomgått skivekirurgi med innsetting av bur i C5/C6-nivå grunnet nakkesmerter med utstråling til høyre arm, fikk en kveld akutte, moderate smerter i nedre del av nakken. Smertene bedret seg noe etter inntak av paracetamoltabletter. Påfølgende ettermiddag fikk han imidlertid intense nakkesmerter med utstråling til begge skuldrene. Han henvendte seg da til legevakten og anga smerter tilsvarende en VAS-skår på 9. Pasienten, som røkte, var utenom det aktuelle frisk og brukte ingen faste medikamenter.

    På legevakten utviklet han i løpet av 1 ½ time økende kraftsvikt i venstre skulder og arm. Smertene var avtagende, med noe effekt av smertestillende legemidler. Han ble akutt innlagt på nevrologisk avdeling med mistanke om nakkeprolaps. Ved innkomst fant legen normale vitalia, og pasienten var afebril. Ved nevrologisk undersøkelse klarte han 20 graders abduksjon av venstre arm, det var paresegrad 4 for fleksjon av venstre albue og håndledd samt betydelig redusert funksjon i fingrene. Spurlings test var negativ, og blodprøver var normale.

    MR-undersøkelse av nakken ble tatt samme dag og viste trange forhold for begge C5-røttene sekundært til unkovertebrale påleiringer, mest markert på venstre side, hvor det også var noe benmargsødem, tolket som degenerativt betinget. Smertestillende i form av paracetamol, diklofenak og tramadol ble gitt per os, og smertene avtok. En venstresidig C5-affeksjon ble antatt å være årsaken til kraftsvikten, og nevrolog konfererte med nevrokirurg ved universitetssykehus om eventuell avlastende kirurgi.

    Ved affeksjon av C5-nerverot vil man forvente svakhet ved skulderabduksjon grunnet svikt i m. supraspinatus og m. deltoideus. Vår pasient hadde affeksjon av disse musklene, men også nedsatt kraft i fingrene som ikke kunne forklares av en ren C5-affeksjon.

    Ved regranskning av MR-bildene utført av nevroradiolog på universitetssykehuset ble det bemerket et subtilt T2-høysignal sentralt i cervikalmedulla i nivå C2–C4. På bakgrunn av dette ble det anbefalt å utføre MR-undersøkelse av nevroaksen (hjernen og hele columna) og spinalpunksjon. Pasienten utviklet i løpet av natten redusert kraft i venstre hofte (grad 4) og ble derfor overflyttet til universitetssykehus for videre utredning.

    Da han ankom universitetssykehuset tre dager etter symptomdebut, var smertene i nakken fortsatt til stede, men han hadde effekt av smertestillende medikamenter. Ved nevrologisk undersøkelse var det nytilkommen forskjell i pupillstørrelse (anisokori) med venstresidig miose, men ikke ptose eller andre tegn til Horners syndrom. Det var normal sensibilitet for berøring i ansikt og over- og underekstremitetene, mens smerte- og temperatursansen var redusert i høyre kroppshalvdel nedenfor C6-dermatomet. Det var intakt og sidelik vibrasjonssans distalt i ekstremitetene. Leddsansen ble ikke testet.

    Pasienten hadde uttalte slappe pareser i over- og underekstremitetene på venstre side, bl.a. paresegrad 3 for abduksjon i venstre skulder, paresegrad 2 for fleksjon av venstre albue og paresegrad 4 for fleksjon i venstre hofte. Han kunne ikke gå uten støtte eller prekestol. Han klarte ikke å sprike med fingrene og hadde vansker med å bruke venstre hånd til noe målrettet. Han hadde normale senereflekser bilateralt i over- og underekstremitetene og ingen ataksi.

    Pasienten hadde normale blodtrykks- og glukosemålinger under innleggelsen. Lipidprofilen og HbA1c-verdien var innen referanseområdet. Antinukleære antistoffer (ANA), antinøytrofile cytoplasmaautoantistoffer (ANCA) og antistoffer mot fosfolipider i blodet var upåfallende. EKG viste ikke arytmi.

    De nevrologiske funnene passet med en klassisk, men inkomplett variant av Brown-Séquards syndrom. Pasienten hadde pareser uten sensibilitetstap på venstre side og redusert smerte- og temperatursans på høyre side. Imidlertid er miose ikke en del av syndromet, og utredningen ble derfor utvidet. Innleggelsesdagen på universitetssykehuset ble det utført ny avbildning av nevroaksen med 1,5 T (tesla) MR-undersøkelse samt CT-angiografi av pre- og intracerebrale kar.

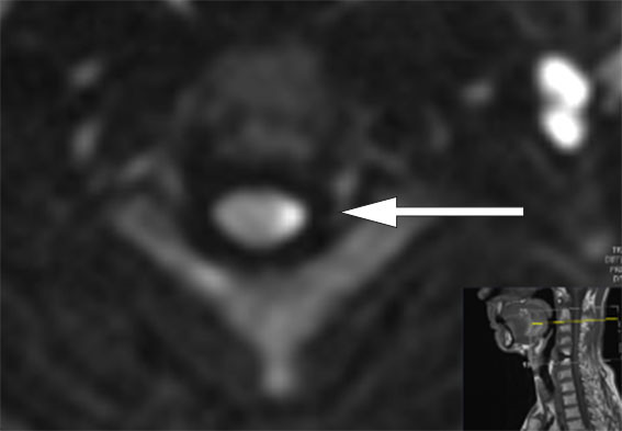
    MR-undersøkelsen av hjernen viste funn forenlig med et lite, ferskt infarkt i venstre cerebellarhemisfære. Intramedullært var det nå tilkommet et mer distinkt, økt T2-signal i nivå C2–C4 (figur 1), der aksialt diffusjonsopptak viste restriktiv diffusjon innad i områder med økt T2-signal, som hadde overvekt mot venstre side (figur 2).

    CT-angiografi viste ikke aneurisme eller disseksjon i pre- eller intracerebrale kar, men en liten kontrastfylt krypt i et veggfortykket segment av venstre a. subclavia, proksimalt for avgangen av venstre a. vertebralis. Dette funnet kunne peke mot en fersk plakkulcerasjon og være en sannsynlig embolikilde. Spinalpunksjon utført på dag 4 av sykdomsforløpet viste normale funn i cerebrospinalvæsken. Transtorakal ekkokardiografi utført etter utskrivning fra universitetssykehus viste normal ejeksjonsfraksjon på 55 % og avdekket ingen klaffefeil eller embolikilder.

    Arterielt spinalt infarkt ble ansett som den mest sannsynlige diagnosen etter funn av diffusjonsrestriksjon i medulla, ferskt infarkt i venstre cerebellum og et aterosklerotisk plakk i venstre a. subclavia. Herfra kan en trombe ha vandret via a. vertebralis og ned til a. spinalis anterior og forårsaket det aktuelle spinale infarktet.

    Det var ikke disseksjon i a. carotis interna, ikke infarkt i hjernestammen eller annen strukturell årsak til miosen på venstre side.

    Pasienten ble behandlet med peroral platehemming med acetylsalisylsyre 75 mg × 1 og klopidogrel 75 mg × 1 i tre uker og deretter monoterapi med klopidogrel 75 mg × 1 som livslang behandling. Seks måneder etter hendelsen har han gjenvunnet tilnærmet normal funksjon i venstre sides ekstremiteter, men har vedvarende endret temperatursans i høyre side.

    Diskusjon

    Diskusjon

    Spinale infarkter er sjeldne, og forekomsten angis til 0,3–1,0 % av alle infarkter i sentralnervesystemet (1). De presenterer seg annerledes enn cerebrale infarkter og kan være vanskelige å diagnostisere i tidlig fase. Symptomene kan – i motsetning til cerebrale infarkter som oppstår hyperakutt – utvikle seg trinnvis, slik som hos vår pasient. Motorisk dysfunksjon er det vanligste symptomet, etterfulgt av sensoriske utfall, nakke- og ryggsmerter samt autonom dysfunksjon (2). Symptomene varierer ut fra infarktets lokalisasjon og størrelse.

    Brown-Séquards syndrom kjennetegnes ved en lesjon på den ene siden av ryggmargen, som regel i nakkenivå. Dette resulterer i motoriske utfall samt tap av vibrasjons- og leddsans på skadet side og reduksjon av smerte- og temperatursans på frisk side. Årsaker til syndromet kan være medullainfarkt, ryggmargssvulst, traume (som stikksår eller skuddsår til nakke), infeksjoner (som tuberkulose) eller inflammatoriske sykdommer (som multippel sklerose). Vår pasient presenterte et inkomplett Brown-Séquards syndrom med infarsering langs tractus spinothalamicus og tractus corticospinalis, som forklarer de motoriske utfallene på skadet side og den reduserte smerte- og temperatursansen på frisk side. Videre var Burdachs streng (fasciculus cuneatus) og Golls streng (fasciculus gracilis) spart, som forklarer bevart vibrasjonssans på skadet side. I tillegg hadde pasienten en unilateral miose som trolig skyldtes skade av okulosympatiske fibre i cervikalt nivå.

    Ved klinisk mistanke om akutt medullært infarkt bør det utføres diffusjonsvektet MR-undersøkelse, da T2-signalavvik kan være subtile eller fraværende tidlig i akuttfasen. I nivå C3–C5 kan fremstillingen av medulla være påvirket av ulike bildeartefakter på MR-undersøkelse, noe som kan gjøre deteksjon av signalavvik utfordrende.

    De vanligste årsakene til medullainfarkt er aterosklerose, disseksjon av abdominale aorta, kardial embolikilde og iatrogen skade (bl.a. sett ved aortakirurgi, spinal dekompresjon og epidurale steroidinjeksjoner) (2). Risikofaktorer inkluderer hypertensjon, diabetes, hyperkolesterolemi og røyking. Intravenøs trombolytisk behandling er ikke standard ved spinale infarkter, men individuell vurdering er mulig (3, 4). Dette skyldes bl.a. at spinale infarkter er vanskelige å diagnostisere i akuttfasen, og tidsvinduet for trombolytisk behandling ofte utgår før diagnosen er satt. Behandling av spinale infarkter er ellers lik som ved hjerneinfarkt, men avhengig av etiologi. Metylprednisolon anvendes ikke, i motsetning til hva man bruker ved andre typer myelopati.

    Pasientene har ofte alvorlige utfall, men responderer godt på rehabilitering. Opptil 50 % gjenvinner gangfunksjon ved utskrivning (2), og pasientene kommer i større grad tilbake i jobb enn pasienter med cerebrale hjerneinfarkter, blant annet på grunn av generelt yngre alder og mindre kognitive sekveler (1).

    Pasienten har gitt samtykke til at artikkelen blir publisert.

    Artikkelen er fagfellevurdert.

    Kommentarer  ( 0 )
    PDF
    Skriv ut

    Anbefalte artikler