Background
. The purpose of this study was to track the development of body mass index from adolescence into adulthood and to study the association between parental and offspring’s body mass index.
Material and methods
. From 1979, 506 children participated in a twenty-years follow-up study. Mean age in 1979 was 13 years. Participants’ weight and height were measured in 1979, 1981 and 1991, and self-reported in 1999. Weight and height of parents were reported in 1979 and in 1981. The cohort in this paper was followed up until 1999.
Results
. In 1999, 26 % of women and 53 % of men had body mass index (BMI: weight in kg/height in meters²) 25, and 7 % of women and 11 % of men had BMI 30. Participants in the highest quartile of BMI in 1981 had significantly higher BMI in 1999 compared to those in the lowest 1981 quartile (mean and 95 % confidence interval was 27.7 (27.0 – 28.3) kg/m² versus 22,0 (21.3 – 22.7) kg/m²). The highest 1981 quartile also had a higher proportion of overweight and obese participants in 1999 than those in the lowest quartile; 64.8 % overweight and 27 % obese versus 18.8 % overweight and 0.9 % obese. Participants whose both parents were in the normal weight range in 1981 had lower mean body mass index in 1999 than those with one parent overweight, and a smaller proportion of them were overweight than among participants with both parents overweight.
Interpretation
. The probability of overweight in adulthood is predicted by both one’s own relative weight during adolescence and by parental relative weight 18 years earlier.
Det har funnet sted en vektøkning i alle deler av den voksne befolkning i Norge de siste tiårene, og andelen overvektige (kroppsmasseindeks 25) og fete (kroppsmasseindeks 30) har økt (1 – 4). Dette er en uheldig utvikling på grunn av de helsemessige konsekvensene (5 – 12). Det er gjort flere internasjonale undersøkelser av faktorer i ungdomsårene som påvirker vekten i voksen alder (13) og på vektutvikling fra ung til voksen (14 – 16). Videre er det vist at det er høy stabilitet (tracking) for noen helseforhold fra barn til ungdom og voksen samt i voksen alder, blant annet i kroppsmasseindeks (kg/m²) (14 – 20).
Selv om det ikke er enighet om den forholdsmessige betydningen av arvelige faktorer for kroppsmasseindeks, er genetiske faktorer funnet å kunne forklare en betydelig andel av variasjonen i kroppsmasseindeks hos menn og kvinner (21). Foreldrenes vekt har også vist seg å være viktig for barnas vekt og vektutvikling (13, 14, 19, 22, 23). Disse undersøkelsene er i all hovedsak fra USA. The Amsterdam Growth and Health study (18) er den eneste europeiske undersøkelsen vi har identifisert. Vi mangler altså data om disse forholdene fra både Norge og andre nordiske land, og i Statens råd for ernæring og fysisk aktivitets rapport om vekt og helse (24) påpekes behovet for mer data om vektutvikling (stabilitet i vekt) i den norske befolkningen.
Vektutvikling over tid kan beskrives med stabilitet i kroppsmasseindeks. Generelt kan ”tracking” defineres som stabilitet i helseatferd over tid (25). Høy stabilitet ser vi når en person beholder sin relative plassering i en bestemt gruppe. Høyde og vekt er eksempler på variabler med høy stabilitet (26). Overvekt er funnet å ha sammenheng med økt sykelighet (5 – 8), og slik overvekt er av Verdens helseorganisasjon (27) definert som en kroppsmasseindeks på 25 kg/m² eller høyere. Ifølge flere undersøkelser er overvekt med økt dødelighet som følge funnet å være en kroppsmasseindeks på 27 eller høyere (9 – 12, 24). Fedme er av WHO definert som kroppsmasseindeks på 30 eller høyere.
Hensikten med denne undersøkelsen var å studere stabiliteten i kroppsmasseindeks, som et mål på relativ vekt, fra ungdom til voksen, samt betydningen av foreldrenes kroppsmasseindeks for deres barns kroppsmasseindeks i voksen alder i en norsk befolkning.
Materiale og metode
Studiedesign og utvalg
Denne undersøkelsen baserer seg på data fra Kjenn din kropp-undersøkelsen (28). Målet med Kjenn din kropp-undersøkelsen var blant annet å innhente epidemiologiske data angående risikofaktorer for hjerte- og karsykdom og kreft, samt helserelatert atferd hos barn og ungdom. Første undersøkelse ble utført våren 1979 blant elever på 5., 6. og 7. klassetrinn, i gjennomsnitt 13,0 år gamle, ved seks skoler i Oslo. Deretter er det gjort oppfølgingsundersøkelser av ulikt omfang våren 1981, høsten 1989, høsten 1991 og våren 1999.
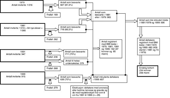
Denne artikkelen er basert på data innhentet i 1979, 1981, 1991 og 1999 (fig 1). I 1979, 1981 og 1991 ble deltakerne invitert til en helseundersøkelse i tillegg til å besvare spørreskjema, mens i 1999 ble det kun benyttet postale spørreskjemaer. I tillegg ble de som ikke møtte til helseundersøkelse i 1991, spurt om å besvare postale spørreskjemaer.
Antall inviterte og deltakerprosent i undersøkelsen er beskrevet i figur 1. I 1979 ble det invitert 1 016 elever, hvorav 827 deltok. I 1981 ble igjen alle elever på 7., 8. og 9. klassetrinn ved de seks skolene invitert. Grunnet nye elever ved skolene ble det invitert 1 080 elever i 1981 (de 1 016 fra 1979 samt 64 nye). Disse dannet grunnlaget for mulig deltakelse videre i undersøkelsen. Av de 636 deltakerne i 1999 ble 29 ekskludert på grunn av at høydeforskjellen mellom 1991 og 1999 var mer enn 8 cm (n = 3), at de hadde oppgitt å ha anorexia (n = 1) eller bulimia nervosa (n = 3) eller å være gravide (n = 22). Beskrivelse av de resterende 607 finnes i tabell 1.
Tabell 1
Alder, kroppsmasseindeks, vekt og høyde i 1979, 1981, 1991 og 1999 for kvinner og menn. 18 års oppfølging av Kjenn din kropp-undersøkelsen
| 1979 |
1981 |
1991 |
1999 |
|||||
| Kvinner |
Menn |
Kvinner |
Menn |
Kvinner |
Menn |
Kvinner |
Menn |
|
| Alder (år) |
||||||||
| Antall |
396 |
431 |
348 |
370 |
204 |
175 |
293 |
314 |
| Gjennomsnitt (SD) |
13,0 (0,9) |
13,0 (0,9) |
14,9 (0,9) |
15,0 (0,9) |
25,0 (0,9) |
25,1 (0,9) |
32,4 (1,0) |
32,5 (1,0) |
| Minimum – maksimum |
11,0 – 15,0 |
11,0 – 16,0 |
13,0 – 17,0 |
13,0 – 17,0 |
23,0 – 26,0 |
23,0 – 27,0 |
30,0 – 34,0 |
30,0 – 35,0 |
| Kroppsmasseindeks (kg/m²) |
||||||||
| Antall |
386 |
421 |
326 |
347 |
204 |
175 |
285 |
302 |
| Gjennomsnitt (SD) |
18,7 (2,6) |
18,4 (2,2) |
20,0 (2,7) |
19,5 (2,3) |
22,8 (3,4) |
24,1 (3,1) |
23,2 (3,8) |
25,6 (3,9) |
| Minimum – maksimum |
12,9 – 30,20 |
14,6 – 30,7 |
13,9 – 32,3 |
15,2 – 30,0 |
17,2 – 47,2 |
17,4 – 38,1 |
16,9 – 42,1 |
17,6 – 45,2 |
| Vekt (kg) |
||||||||
| Antall |
386 |
421 |
326 |
347 |
204 |
175 |
285 |
303 |
| Gjennomsnitt (SD) |
46,6 (9,4) |
45,3 (8,9) |
54,4 (8,9) |
56,3 (10,5) |
64,3 (10,8) |
78,9 (11,4) |
66,3 (12,9) |
85,2 (14,6) |
| Minimum – maksimum |
25,7 – 82,8 |
28,6 – 80,5 |
31,2 – 99,5 |
30,7 – 99,9 |
42,0 – 130,0 |
59,0 – 119,0 |
45,0 – 129,0 |
54,0 – 153,0 |
| Høyde (m) |
||||||||
| Antall |
388 |
423 |
326 |
348 |
204 |
175 |
290 |
307 |
| Gjennomsnitt (SD) |
1,57 (0,08) |
1,56 (0,1) |
1,65 (0,06) |
1,69 (0,1) |
1,68 (0,06) |
1,81 (0,07) |
1,69 (0,06) |
1,82 (0,07) |
| Minimum – maksimum |
1,37 – 1,79 |
1,32 – 1,85 |
1,50 – 1,78 |
1,42 – 1,94 |
1,54 – 1,81 |
1,64 – 1,99 |
1,45 – 1,82 |
1,67 – 2,03 |
I denne artikkelen er 1981 valgt som utgangspunkt, ettersom flertallet da var gjennom puberteten (29). For å redusere frafallet i kohorten ble deltakerne i 1981 supplert med 1979-deltakere som ikke deltok i 1981 (i alt 965 elever deltok enten i 1981 eller i 1979). Oppfølgingstiden er derfor 18 år for størstedelen av deltakerne, mens den er 20 år for et mindretall (fig 1).
Det var ingen vesentlige forskjeller i resultat når deltakerne fra 1981 ble analysert alene eller når de ble analysert sammen med dem som deltok i 1979. Antall deltakere som deltok både i 1981 (eller 1979) og i 1999 var i alt 506, hvorav det for 482 var opplysninger om kroppsmasseindeks både i 1981 (eller 1979) og i 1999 (tabell 2 gir beskrivelse av deltakerantallet i 1981 – 99-kohorten). Antall deltakere i kohorten som inneholder data fra 1991-helseundersøkelsen var 97 kvinner og 85 menn. Største begrensende faktor i denne kohorten var det lave deltakertallet ved helseundersøkelsen i 1991 (379 deltakere).
Tabell 2
Alder, kroppsmasseindeks, vekt og høyde for 1981 – 99-kohorten, kvinner og menn, og for foreldrene 1981 (eller 1979). 18 års oppfølging av Kjenn din kropp-undersøkelsen
| 19811,² |
1999 |
19811,² |
||||
| Kvinner (n = 234)² |
Menn(n = 248)² |
Kvinner(n = 234) |
Menn(n = 248) |
Mødre(n = 450/440)³ |
Fedre(n = 370/365)³ |
|
| Alder (år) |
||||||
| Gjennomsnitt (SD) |
14,6 (1,1) |
14,7 (1,1) |
32,3 (1,0) |
32,5 (1,0) |
42,3 (6,3) |
45,8 (7,1) |
| Minimum – maksimum |
11,0 – 17,0 |
12,0 – 17,0 |
31,0 – 34,0 |
30,0 – 35,0 |
30,0 – 60,0 |
31,0 – 72,0 |
| Kroppsmasseindeks (kg/m²) |
||||||
| Gjennomsnitt (SD) |
19,7 (2,4) |
19,4 (2,6) |
23,3 (4,0) |
25,7 (3,9) |
22,4 (3,1) |
24,1 (2,5) |
| Minimum – maksimum |
14,9 – 27,4 |
15,0 – 30,0 |
16,9 – 42,1 |
17,6 – 45,2 |
17,0 – 36,2 |
17,6 – 31,3 |
| Vekt (kg) |
||||||
| Gjennomsnitt (SD) |
53,1 (8,6) |
55,2 (11,7) |
66,5 (13,3) |
85,0 (14,2) |
61,6 (9,4) |
77,6 (9,7) |
| Minimum – maksimum |
35,4 – 76,8 |
30,4 – 99,9 |
45,0 – 129,0 |
54,0 – 153,0 |
43,0 – 99,0 |
50,0 – 99,0 |
| Høyde (m) |
||||||
| Gjennomsnitt (SD) |
1,64 (0,07) |
1,68 (0,11) |
1,69 (0,06) |
1,82 (0,06) |
1,66 (0,05) |
1,79 (0,06) |
| Minimum – maksimum |
1,47 – 1,78 |
1,40 – 1,94 |
1,45 – 1,82 |
1,67 – 2,03 |
1,50 – 1,90 |
1,56 – 1,99 |
| ||||||
Av foreldrene var det 883 mødre (93 % av de 965 deltakerne som besvarte i 1981 eller 1979) og 718 fedre (74,0 % av de 965 deltakerne) som besvarte spørreskjemaene (i 1981 eller 1979). I 1981 – 99-kohorten var det 450 mødre (93,4 %) og 370 fedre (76,8 %) (til 482 deltakere) som hadde besvart spørreskjemaene (i 1981 eller 1979) (tab 2). Tre mødre der forskjellen mellom mors og barns alder var mer enn 60 år, ble ekskludert fra analysene der foreldrene inngikk.
Metode
Undersøkelsene i 1979 og 1981 var nesten identiske og bestod av spørreskjema til elevene (heretter kalt deltakerne) og til deres foreldre, samt helseundersøkelse av deltakerne. Elevene fylte ut spørreskjemaene i en skoletime, mens foreldrenes spørreskjema ble sendt hjem med elevene. Helseundersøkelsen bestod blant annet av måling av høyde og vekt (til henholdsvis nærmeste millimeter og nærmeste 100 gram) og vurdering av kjønnsmodning ved hjelp av Tanners skala for utvikling av pubertetshår (29, 30).
I 1991 ble elevene på 7.- 9. klassetrinn i 1981 ved skolene som deltok i Kjenn din kropp-undersøkelsen invitert til helseundersøkelse i Oslo. Etter konsesjon fra Datatilsynet fikk vi oppdaterte adresser, basert på navn og fødselsdato, fra folkeregisteret. De som ikke møtte til helseundersøkelsen, ble kontaktet per post med forespørsel om å besvare utsendte spørreskjema. Høyden ble målt til nærmeste hele centimeter og vekt til nærmeste halve kilo (31) ved helseundersøkelsen i 1991.
I 1999 fikk deltakerne tilsendt spørreskjema der blant annet vekt og høyde skulle rapporteres. Høyde ble oppgitt i hele centimeter og vekt i hele kilo. Det ble sendt purringer til deltakerne i 1999. Foreldrenes høyde og vekt i 1979 og 1981 var selvrapportert og ble registrert ved hjelp av spørreskjema. Det ble ikke sendt purringer til foreldrene i 1979 eller 1981.
Statistiske metoder
For den beskrivende statistikken er parametrisk metode brukt. Sammenhengen mellom kroppsmasseindeks i 1981 (eller 1979) og i 1999 ble beregnet med Pearsons korrelasjon. Endringer i gjennomsnittlig kroppsmasseindeks fra 1981 til 1999 og forskjellen mellom kroppsmasseindekskvartilene ved de enkelte tidspunkter ble beregnet med variansanalyse. I denne analysen ble det justert for alder og Tanners skala i 1981 (eller 1979).
For kroppsmasseindeks i 1999 med foreldrenes grupperte kroppsmasseindeks i 1981 (eller 1979) som forklaringsvariabel ble variansanalyse brukt, og det ble justert for egen kroppsmasseindeks, egen alder og Tanners skala samt for foreldrenes alder i 1981 (1979). Deltakerne ble her inndelt i tre grupper på bakgrunn av foreldrenes kroppsmasseindeks (begge foreldrenes kroppsmasseindeks 25, en forelders kroppsmasseindeks 25 og en< 25, begge foreldrenes kroppsmasseindeks< 25). Logistisk regresjon ble brukt for å beregne oddsratio for kroppsmasseindeks 25 og 30 i 1999 for kjønnene samlet etter kroppsmasseindekskvartil i 1981 (eller 1979) (justert for Tanners skala, egen og foreldrenes alder, samt foreldrenes kroppsmasseindeks i 1981 (eller 1979)). Høyeste kvartil ble benyttet som referanse.
Samme metode ble benyttet for å beregne oddsratio for kroppsmasseindeks 25 og 30 der enten mor eller far, eller både mor og far, hadde kroppsmasseindeks under 25 (justert for deltakernes egen kroppsmasseindeks, alder og Tanners skala, samt foreldrenes alder i 1981 (eller 1979)). Gruppen der begge foreldrene hadde kroppsmasseindeks 25, ble benyttet som referanse. Programpakken SPSS 10.0 for Windows er brukt til alle analysene.
Metode for frafallsanalysene og valideringen
I 1999 ble spørreskjemaene sendt deltakerne via posten, og 532 av de 980 som deltok i 1981 (eller 1979), besvarte da skjemaet. For frafallsanalysene er variansanalyse for kroppsmasseindeks og enveis t-test for alder i 1981 (eller 1979) benyttet, mens khikvadrattest ble brukt for å sammenlikne kjønnsfordelingen. Selvrapportert høyde i 1999 (alder 32,4 år i gjennomsnitt) ble validert mot målt høyde i 1991 (alder 25,0 år i gjennomsnitt) med Pearsons korrelasjon samt at høydeendring fra 1991 til 1999 ble vurdert.
Resultater
Tabell 1 viser alder, kroppsmasseindeks, vekt og høyde for alle deltakerne i 1979, 1981, 1991 og 1999, mens tabell 2 viser disse verdiene for kohorten som deltok både i 1981 (eller 1979) og 1999 og for deres foreldre i 1981 (eller 1979). Det går frem av tabell 2 at mødrene og fedrene ved 44 års alder hadde kroppsmasseindeks henholdsvis 0,9 og 1,6 kg/m² lavere enn døtrene og sønnene hadde ved 33 års alder.
Det var klar sammenheng mellom kroppsmasseindeksen i 1981 (eller 1979) og i 1999. Korrelasjonskoeffisienten for kjønnene samlet var 0,54. For kvinner og menn hver for seg var den henholdsvis 0,56 og 0,61 (p< 0,001). I 1999 (alder 32,4 år i gjennomsnitt) var det totalt 26,1 % og 52,8 % av henholdsvis kvinnene og mennene som hadde en kroppsmasseindeks 25, 12,8 % og 30,2 % hadde en kroppsmasseindeks 27 og 7,3 % og 10,9 % hadde en kroppsmasseindeks 30.
Gjennomsnittlig kroppsmasseindeks i 1999 (ved 32,4 år) (justert for alder og Tanners skala i 1981 eller 1979) gitt kroppsmasseindekskvartil i 1981 (eller 1979) (ved 14,7 år) økte fra laveste 1981-kvartil til de høyere kvartilene for kjønnene samlet (fig 2). Det samme mønsteret viste seg for stabiliteten i kohorten som inkluderte 1991-dataene (fig 3). Kvinner og menn analysert separat viste det samme mønsteret for begge kjønn. Gjennomsnittlig kroppsmasseindeks ved alle tidspunkter var høyere for menn enn for kvinner (data ikke vist).
Tabell 3 viser oddsratio for å være overvektig (kroppsmasseindeks 25) som voksen (1999) gitt kroppsmasseindekskvartil som ungdom (1981 (eller 1979)). Denne avtok fra høyeste kroppsmasseindekskvartil i 1981 (eller 1979) til kvartilene med lavere kroppsmasseindeks i 1981 (eller 1979) for kjønnene samlet. Oddsratio for kroppsmasseindeks 27 (ikke vist i tabell) og for kroppsmasseindeks 30 (tab 3) viser det samme mønsteret som for kroppsmasseindeks 25. Kjønnene analysert separat viste det samme mønsteret for kvinner som for menn. Andelen overvektige og fete var høyere for menn enn for kvinner.
Tabell 3
Andel med overvekt (kroppsmasseindeks 25) og fedme (kroppsmasseindeks 30) og oddsratio for overvekt og fedme i 1999 etter kroppsmasseindekskvartil i 1981 (eller 1979) beregnet ved logistisk regresjon, kjønnene samlet. 18 års oppfølging av Kjenn din kropp-undersøkelsen
| Kvartiler basert på kroppsmasseindeks i 1981⁴ |
Ujustert analyse |
Justert analyse¹ |
Ujustert analyse |
Justert analyse¹ |
||||
| Andel med kroppsmasseindeks 25 (%) |
OR² |
OR |
95 % KI³ |
Andel med kroppsmasseindeks 30 (%) |
OR |
OR |
95 % KI |
|
| Kvartil med høyest kroppsmasseindeks (n = 122) |
64,8 |
Referanse |
Referanse |
27,0 |
Referanse |
Referanse |
||
| Kvartil med nest høyest kroppsmasseindeks(n = 122) |
44,3 |
0,43 |
0,52 |
0,27 – 0,99 |
4,9 |
0,14 |
0,17 |
0,06 – 0,48 |
| Kvartil med nest lavest kroppsmasseindeks(n = 121) |
30,6 |
0,24 |
0,28 |
0,14 – 0,56 |
3,3 |
0,09 |
0,04 |
0,01 – 0,30 |
| Kvartil med lavest kroppsmasseindeks (n = 117) |
18,8 |
0,13 |
0,11 |
0,05 – 0,26 |
0,9 |
0,03 |
0,03⁵ |
0,01 – 0,27⁵ |
| ||||||||
Mors og fars kroppsmasseindeks i 1981 (eller 1979) var en statistisk signifikant prediktor for deltakernes kroppsmasseindeks i 1999. Gjennomsnittlig kroppsmasseindeks for deltakerne (justert for egen kroppsmasseindeks og Tanners skala i 1981 (eller 1979)) var lavere når begge foreldrene var normalvektige enn når en av dem var overvektig (tab 4). Andelen overvektige (kroppsmasseindeks 25 og 27 ( 27 ikke vist)) var mindre blant de deltakerne hvor ingen av foreldrene var overvektige sammenliknet med dem hvor begge foreldrene var overvektige (tab 4).
Tabell 4
Gjennomsnittlig kroppsmasseindeks og oddsratio for overvekt og fedme for deltakerne i 1999 etter foreldrenes kroppsmasseindeks i 1981 (eller 1979), kjønnene samlet. 18 års oppfølging av Kjenn din kropp-undersøkelsen
| BMI 25 |
BMI 30 |
||||||
| Gjennomsnittlig kroppsmasseindeks95 % KI¹ Minimum – maksimum |
% |
OR2,³ |
95 % KI |
% |
OR |
95 % KI |
|
| Begge foreldre med kroppsmasseindeks25 eller høyere (n = 32) |
25,0³ |
||||||
| 23,8 – 26,2 |
71,9 |
Referanse |
18,8 |
Referanse |
|||
| 18,7 – 40,4 |
|||||||
| En forelder kroppsmasseindeks 25 eller høyere, en forelder kroppsmasseindeks under 25 (n = 114) |
25,1 |
||||||
| 24,5 – 25,7 |
48,2 |
0,55 |
0,22 – 1,39 |
14,0 |
1,44 |
0,37 – –5,53 |
|
| 18,3 – 42,1 |
|||||||
| Begge foreldre kroppsmasseindeks under 25 25 (n = 212) |
23,9 |
||||||
| 23,4 – 24,3 |
27,6 |
0,31 |
0,13 – 0,76 |
4,2 |
0,77 |
0,18 – 3,22 |
|
| 16,9 – 35,8 |
|||||||
| |||||||
Frafallsanalyser
Frafallsanalysene for dem som deltok og dem som falt fra mellom 1981 og 1999 viser at deltakere hadde høyere alder enn frafallet i 1981 (eller 1979) (14,7 år mot 14,3 år, p< 0,001), og at andelen menn var noe lavere blant deltakere enn blant ikke-deltakere (50,0 % mot 56,2 %, p = 0,05). Det var ingen forskjell i kroppsmasseindeks i 1981 (eller 1979) blant dem som deltok og dem som falt fra mellom 1981 og 1999 (deltakere mot ikke-deltakere hadde kroppsmasseindeks på henholdsvis 19,5 kg/m² og 19,3 kg/m², justert for alder).
Kroppsmasseindeks for dem som deltok i undersøkelsen i 1999, men som ikke deltok i 1981 eller i 1979 (n = 101), var ikke signifikant forskjellig fra kroppsmasseindeks for dem som deltok både i 1981 eller 1979 og i 1999 (data ikke vist).
Validering
Korrelasjonskoeffisienten mellom målt høyde i 1991 og selvrapportert høyde i 1999 var 0,93 for kvinner og 0,96 for menn (p< 0,001 for begge kjønn). Blant kvinnene var det 85,1 % som rapporterte samme høyde ± 1 cm i 1999 som det som var målt i 1991, og blant mennene var denne andelen 76,8 %. Blant kvinnene var det 13,7 % som oppgav 2 – 4 cm økt eller redusert høyde i 1999 i forhold til 1991, mens to personer oppgav å være henholdsvis 7 cm og 14 cm høyere i 1999 enn i 1991. Blant mennene var det 21,6 % med 2 – 4 cm økt eller redusert høyde i 1999 i forhold til i 1991, mens to personer hadde en høydeforskjell på henholdsvis 12 og 22 cm fra 1991 til 1999. Gjennomsnittlig høydeendring var +0,4 cm og +0,3 cm for henholdsvis kvinner og menn fra 1991 til 1999 når de med høydeendring på mer enn 8 cm var ekskludert.
50 % av kvinnene oppgav samme vekt eller redusert vekt i 1999 i forhold til målt vekt i 1991. Gjennomsnittlig vektendring for kvinner var +1,5 kg, og de største endringene var +39,0 kg og − 18,5 kg. For mennene var det 20,5 % som rapporterte samme vekt eller redusert vekt i 1999 i forhold til målt vekt i 1991. Gjennomsnittlig vektendring for menn var +4,5 kg, og de største endringene var +34 kg og − 14,5 kg.
Gjennomsnittlig endring i kroppsmasseindeks fra 1991 til 1999 var henholdsvis 0,5 og 1,3 kg/m² for kvinner og menn når de med høydeendring på mer enn 8 cm var ekskludert.
Deltakere med stor vektendring fra 1991 til 1999 er ikke ekskludert, da det ansees mulig med slike vektendringer over mange år som det vi ser her. Unntaket er kvinnen med 39 kilos vektøkning fra 1991 til 1999, da dette er samme person som rapporterte høydeøkning på 14 cm i den perioden.
Diskusjon
Denne undersøkelsen viser at kroppsmasseindeksen som ung er en sterk prediktor for kroppsmasseindeksen som voksen. Det er en klar sammenheng mellom overvekt som voksen og ens egen kroppsmasseindeks som ung og foreldrenes kroppsmasseindeks 18 år tidligere.
Gjennomsnittlig kroppsmasseindeks for deltakerne i undersøkelsen var i tråd med funnene fra Tromsø-undersøkelsen (3) og kroppsmasseindeks for ulike aldersgrupper gjengitt i Vekt – helse-rapporten (24). Tallene våre var imidlertid noe lavere enn i Tverdals undersøkelse fra 1997 – 99 (1). Dette kan henge sammen med at deltakernes alder i Kjenn din kropp-undersøkelsen var lavere enn deltakernes alder i Tverdals undersøkelse (32 – 34 år mot 40 – 42 år). Forekomsten av overvekt og fedme i Kjenn din kropp-undersøkelsen i 1999 er noe høyere enn i tilsvarende aldersgrupper i Tromsø-undersøkelsen i 1994 – 95 og noe lavere enn i Tverdals undersøkelse, men dette kan igjen henge sammen med deltakernes ulike alder i de to undersøkelsene. Kjenn din kropp-undersøkelsen er utført i Oslo, og vi vet ikke om resultatene er representative for landet for øvrig. Bjerkedal & Brevik (32) fant at rekrutters kroppsmasseindeks (født 1967 – 80, 18 år gamle ved sesjon) økte i 13-årsperioden over hele landet, men at økningen var minst på Østlandet og størst i Nord-Norge. Dette tyder på at økningen i kroppsmasseindeks kan være minst like høy i resten av Norge som det vi ser i Oslo.
En viktig observasjon i denne undersøkelsen er forskjellen mellom deltakernes kroppsmasseindeks ved 33 års alder (1999) og foreldrenes kroppsmasseindeks ved 42 – 46 års alder (1981 (eller 1979)) (tab 2). Selv om foreldrene i 1981 (eller 1979) var omtrent ti år eldre enn døtrene og sønnene var i 1999, var mødrenes og fedrenes kroppsmasseindeks lavere enn døtrenes og sønnenes ved disse tidspunktene. Dette funnet er i tråd med resultatene fra Tromsø-undersøkelsen, der de fant en økning i kroppsmasseindeks over tid for alle fødselskohorter (3). Det er tidligere vist at det er høy grad av stabilitet i kroppsmasseindeks fra barn til ungdom og voksen (14 – 16, 19, 23). Whitaker og medarbeidere (19) og Guo og medarbeidere (16) fant at risikoen for å være fet eller overvektig som voksen (21 – 35 år) var signifikant høyere for dem som var overvektige ved 14 – 15 års alder. Våre funn er i samsvar med dette.
Vi fant i denne undersøkelsen at deltakere der begge foreldrene hadde kroppsmasseindeks under 25 i 1981 (eller 1979) (44 år i gjennomsnitt), hadde lavere kroppsmasseindeks i 1999 enn hvis en av foreldrene var overvektig. Det var også færre overvektige deltakere i 1999 hvis begge foreldrene hadde kroppsmasseindeks under 25 enn hvis begge foreldrene hadde kroppsmasseindeks over 25 i 1981 (eller 1979) (kontrollert for deltakers egen kroppsmasseindeks ved 15 års alder). Dette er i tråd med tidligere funn (13, 14, 19, 22, 23).
Whitaker og medarbeidere (19) fant at barn med fet mor eller far hadde økt risiko for fedme i voksen alder (21 – 29 år), og det er funnet at overvektige barn av overvektige foreldre har større risiko for å bli overvektige som voksne enn overvektige barn av normalvektige foreldre (19, 23).
Foreldrenes påvirkning av barnas kroppsmasseindeks kan gå gjennom både arv og miljø, men det er ikke enighet om den relative betydning av disse faktorene (13, 22, 33, 34). Våre funn viser at foreldrenes kroppsmasseindeks har betydning for deres barns kroppsmasseindeks som voksne uavhengig av barnas egen kroppsmasseindeks som barn.
Styrke og svakheter ved undersøkelsen
Denne undersøkelsens styrke er at den har 18 – 20 års oppfølging av forholdsvis mange deltakere fra de var tenåringer i 1979 og 1981. I tillegg er deltakernes foreldre inkludert i 1979 og i 1981.
En svakhet er imidlertid at høyde og vekt var selvrapportert i 1999, og over- og underrapportering kan da være et problem. Gjennomsnittlig vekt- og høydeøkning fra 25 til 33 års alder i denne undersøkelsen tyder ikke på at det har vært en betydelig overestimering av høyde eller underestimering av vekt ved 33 års alder. Endringen i kroppsmasseindeks mellom 1991 og 1999 for dem som deltok ved begge disse oppfølgingene (0,5 og 1,3 kg/m² for henholdsvis kvinner og menn), var i tråd med endringene som ble observert i Tromsø-undersøkelsen (høyde og vekt ble målt ved alle oppfølginger) (3). I en britisk undersøkelse hvor høyde og vekt ble målt ved 33 års alder og var selvrapportert ved 23 års alder, var økningen i kroppsmasseindeks fra 23 til 33 års alder 2,5 kg/m² (35). Vi kan ikke se bort fra at det har vært en over- eller underestimering av henholdsvis høyde eller vekt i vår undersøkelse. Dataene tyder imidlertid ikke på at en slik over- eller underestimering i 1999 er betydelig, og vi tror ikke at underestimering av kroppsmasseindeks i siste oppfølgingsundersøkelse reduserer gyldigheten av våre konklusjoner.
Av de 980 som deltok enten i 1981 eller 1979, var det 450 som ikke deltok i 1999. Disse hadde en kroppsmasseindeks som var 0,2 kg/m² høyere enn de 532 som ble fulgt opp i 1999 (ikke signifikant). Det kan tenkes at de som falt fra og de som kom til hadde en annen vektutvikling over tid enn deltakerne. Men de som falt fra og de som kom til i denne studien hadde ikke kroppsmasseindeks som var forskjellig fra kroppsmasseindeksen til dem som deltok i hele 20-årsperioden.
Deltakertallet på helseundersøkelsen i 1991 var lavt (n = 379), og resultatene fra kohorten hvor disse dataene inngår, er derfor lite vektlagt. Når det gjelder stabilitet i kroppsmasseindeks, følger disse resultatene imidlertid samme mønster som vi finner for 1981 – 99-kohorten. Funnene i denne undersøkelsen kan ikke generaliseres til den norske befolkningen, da deltakerne kun er fra noen få Oslo-skoler og har fulgt undersøkelsen i lang tid. Vi tror imidlertid at stabiliteten i kroppsmasseindeks er et generaliserbart funn hvis man ser på nivåer og ikke absolutte tall.
Konsekvenser av funnene
En av konsekvensene av at kroppsmasseindeksen i ungdommen er en sterk prediktor for overvekt og fedme som voksen, er at overvektforebyggende tiltak bør settes inn på et tidlig stadium i livet.
Vektøkningen som finner sted i dag, skyldes ifølge Statens råd for ernæring og fysisk aktivitet (24) for en stor del strukturelle endringer i organiseringen av samfunnet. Det blir viktig å sette søkelys på primærforebyggende arbeid ved helsestasjonene og i skolehelsetjenesten. Disse kan gi råd om kosthold og fysisk aktivitet til barnefamilier, barn og unge, i tillegg til at de har et tilsynsansvar i forhold til blant annet skolemåltidet i grunnskolen og i videregående skoler.
Da kroppsmasseindeks som ung og foreldrenes kroppsmasseindeks har betydning for vekt i voksen alder og for risikoen for å utvikle overvekt og fedme, er det viktig å sette i verk forebyggende tiltak allerede i barndommen.
Kjenn din kropp-undersøkelsen er i hovedsak støttet av Den Norske Kreftforening (tidligere Landsforeningen mot kreft). Dette arbeidet er støttet via et stipend til førsteforfatter fra Helse og Rehabilitering – Stiftelsen for norske helse og rehabiliteringsorganisasjoner.
- 1.
Tverdal A. Forekomsten av fedme blant 40 – 42-åringer i to perioder Tidsskr Nor Lægeforen 2001; 121: 667 – 72.
- 2.
Bjerkedal T, Beckstrøm JR, Brevik JI, Skåden K. Høyde, vekt og kroppsmasseindeks ved sesjon for menn født i årene 1967 – 80 Tidsskr Nor Lægeforen 2001; 121: 674 – 7.
- 3.
Jacobsen BK, Njølstad I, Thune I, Wilsgaard T, Løchen ML, Schirmer H. Increase in weight in all birth cohorts in a general population – The Tromsø study, 1974 – 1994. Arch Intern Med 2001; 161: 466 – 72.
- 4.
Tverdal A. Høyde, vekt og kroppsmasseindeks for menn og kvinner i alderen 40 – 42 år. Tidsskr Nor Lægeforen 1996; 116: 2152 – 6.
- 5.
Claudi T, Midthjell K, Holmen J, Fougner K, Krüger Ø, Wiseth R. Cardiovascular disease and risk factors in persons with type 2 diabetes diagnosed in a large population screening: the Nord-Trøndelag Diabetes Study, Norway. J Intern Med 2000; 248: 492 – 500.
- 6.
Wilsgaard T, Schirmer H, Arnesen E. Impact of body weight on blood pressure with a focus on sex differences. Arch Intern Med 2000; 160: 2847 – 53.
- 7.
Kaukua J, Turpeinen A, Uusitupa M, Niskanen L. Clustering of cardiovascular risk factors in type 2 diabetes mellitus: prognostic significance and tracking. Diabetes Obes Metab 2001; 3: 17 – 23.
- 8.
Jousilahti P, Vartiainen E, Tuomilehto J, Puska P. Sex, age, cardiovascular risk factors, and coronary heart disease. A prospective follow-up study of 14 786 middle-aged men and women in Finland. Circulation 1999; 99: 1165 – 72.
- 9.
Selmer R, Tverdal A. Body mass index and cardiovascular mortality at different levels of blood pressure: a prospective study of Norwegian men and women. J Epidemiol Comm Health 1995; 49: 265 – 70.
- 10.
Calle EE, Thun MJ, Petrelli JM, Rodriguez C, Heath CW. Body-mass index and mortality in a prospective cohort of U.S. adults. N Engl J Med 1999; 341: 1097 – 105.
- 11.
Dorn JM, Schisterman EF, Winkelstein W jr., Trevisan M. Body mass index and mortality in a general population of men and women. Am J Epidemiol 1997; 146: 919 – 31.
- 12.
Manson JE, Willett WC, Stampfer MJ, Colditz GA, Hunter DJ, Hankinson SE et al. Body weight and mortality among women. N Engl J Med 1995; 333: 677 – 85.
- 13.
Parsons TJ, Power C, Logan S, Summerbell CD. Childhood predictors of adult obesity: a systematic review. Int J Obes 1999; 23 (suppl 8): S1 – 107.
- 14.
Wang Y, Ge K, Popkin BM. Tracking of body mass index from childhood to adolescence: a 6-y follow-up study in China. Am J Clin Nutr 2000; 72: 1018 – 24.
- 15.
Williams S, Davie G, Lam F. Predicting BMI in young adults from childhood data using two approaches to modelling adiposity rebound. Int J Obes 1999; 23: 348 – 54.
- 16.
Guo SS, Chumlea WC. The predictive value of childhood body mass index values for overweight at age 35 y. Am J Clin Nutr 1994; 59: 810 – 9.
- 17.
Myers L, Coughlin SS, Webber LS, Srinivasan SR, Berenson GS. Prediction of adult cardiovascular multifactorial risk status from childhood risk factor levels. Am J Epidemiol 1995; 142: 918 – 24.
- 18.
Kemper HCG, Snel J, Verschuur R, Storm-van Essen L. Tracking of health and risk indicators of cardiovascular diseases from teenager to adult: Amsterdam growth and health study. Prev Med 1990; 19: 642 – 55.
- 19.
Whitaker RC, Wright JA, Pepe MS, Seidel KD, Dietz WH. Predicting obesity in young adulthood from childhood and parental obesity. N Engl J Med 1997; 337: 869 – 73.
- 20.
Wilsgaard T, Jacobsen BK, Schirmer H, Thune I, Løchen M-J, Njølstad I et al. Tracking of cardiovascular risk factors. The Tromsø Study, 1979 – 1995. Am J Epidemiol 2001; 154: 418 – 26.
- 21.
Maes HHM, Neale M, Eaves LJ. Genetic and environmental factors in relative body weight and human adiposity. Behav Genet 1997; 27: 325 – 51.
- 22.
Klesges RC, Klesges LM, Eck LH, Shelton ML. A longitudinal analysis of accelerated weight gain in preschool children. Pediatrics 1995; 95: 126 – 30.
- 23.
Lake JK, Power C, Cole TJ. Child to adult body mass index in the 1958 British birth cohort: associations with parental obesity. Arch Dis Child 1997; 77: 376 – 81.
- 24.
Vekt – helse. Rapport nr. 1/2000. Oslo: Statens råd for ernæring og fysisk aktivitet, 2000.
- 25.
Kelder SH, Perry CL, Klepp KI, Lytle LL. Longitudinal tracking of adolescent smoking, physical-activity, and food choice behaviors. Am J Public Health 1994; 84: 1121 – 6.
- 26.
Mahoney LT, Lauer RM, Lee J, Clarke WR. Factors affecting tracking of coronary heart disease risk factors in children – the Muscatine study. Ann N Y Acad Sci 1991; 623: 120 – 32.
- 27.
Obesity. Preventing and managing the global epidemic. Report of a WHO Consultation on Obesity. Geneve 3 – 5 june 1997. Genève: WHO, 1998.
- 28.
Tell GS. Epidemiology and prevention of chronic disease risk factors in adolescents: the Oslo Youth Study. Oslo: Institutt for forebyggende medisin, Universitetet i Oslo, og Landsforeningen mot kreft, 1987.
- 29.
Tell GS. Cardiovascular disease risk factors related to sexual maturation: the Oslo Youth Study. J Chron Dis 1985; 38: 633 – 42.
- 30.
Tanner JM. Growth at adolescence. 2. utg. Oxford: Blackwell Scientific Publication, 1962.
- 31.
Statens helseundersøkelser. Håndbok for hjerte-karundersøkelsen. 40-åringsprosjektet. Oslo: Statens helseundersøkelser, 1987.
- 32.
Bjerkedal T, Brevik JI. Geografiske variasjoner i kroppsmasseindeks målt ved sesjon for menn født i Norge 1967 – 80 Tidsskr Nor Lægeforen 2001; 121: 3505 – 8.
- 33.
Korkeila M, Kaprio J, Rissanen A, Koskenvuo M. Consistency and change of body mass index and weight. A study on 5967 adult Finnish twin pairs. Int J Obes 1995; 19: 310 – 7.
- 34.
Goran MI, Shewchuk R, Gower BA, Nagy TR, Carpenter WH, Johnson RK. Longitudinal changes in fatness in white children: no effect of childhood energy expenditure. Am J Clin Nutr 1998; 67: 309 – 16.
- 35.
Parsons TJ, Power C, Manor O. Fetal and early life growth and body mass index from birth ti early adulthood in 1958 British cohort: longitudinal study. BMJ 2001; 323: 1331 – 5.